ST



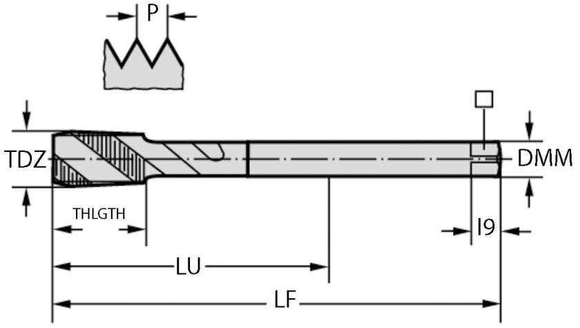
GÄNGTAPP AEP2356302-UNF1/2 THL ECO PLUS
Detaljer
Artikelnummer:
AEP2356302UNF12
Lev. artikelnummer:
6245727
Antal/förpackning:
1
Antal i lager:
0
Lagerstatus:
Leveranstid 2-4 dagar
Anpassa
Beskrivning
HSS-E-gängtappar (HSS-E (-PM) Maskingängtapp 3xD N , DIN/ANSI), med gängstorlek UNF1/2, lämpliga för bearbetning av bottenhål. Universell gängtapp med höga prestanda och thl: god spånkontroll och slitstyrka.



