ST



GÄNGTAPP 224602-UNC1/2
Detaljer
Artikelnummer:
224602P005
Lev. artikelnummer:
5078227
Antal/förpackning:
1
Antal i lager:
0
Lagerstatus:
Leveranstid 2-4 dagar
Anpassa
Beskrivning
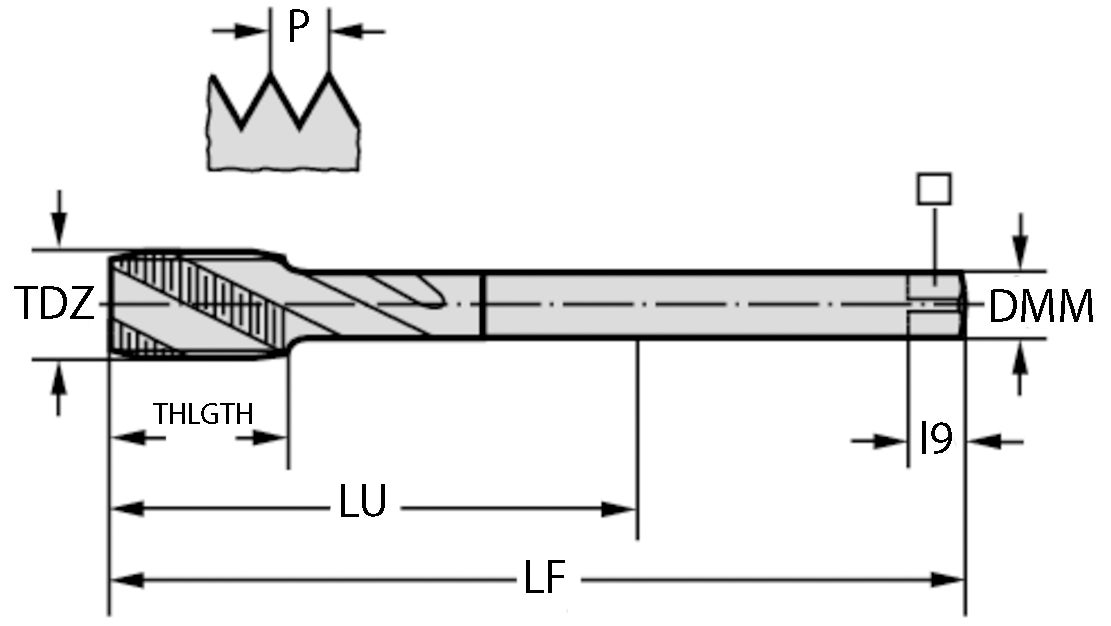
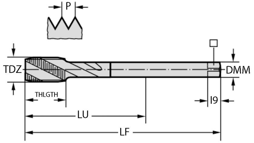
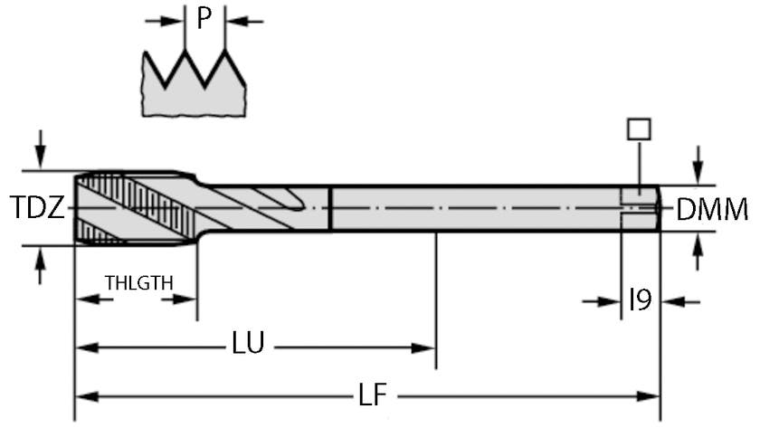
HSS-E-gängtappar (HSS-E (-PM) Maskingängtapp 1,5xDN, DIN 2184-1), med gängstorlek UNC1/2, lämpliga för bearbetning av bottenhål. För långspånande material.



