ST



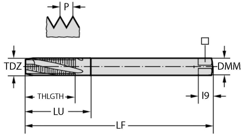
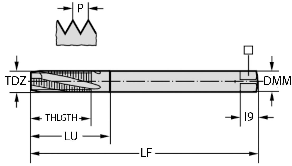
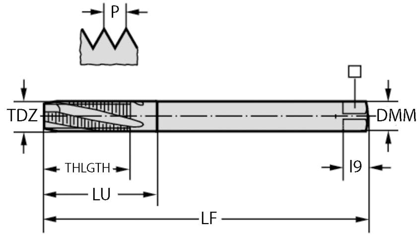
GÄNGTAPP 214101-M8X1
Detaljer
Artikelnummer:
214101P005
Lev. artikelnummer:
5077617
Antal/förpackning:
1
Antal i lager:
0
Lagerstatus:
Leveranstid 2-4 dagar
Anpassa
Beskrivning
HSS-E-gängtappar (HSS-E (-PM) Maskingängtapp 1,5xD N , DIN 371), med gängstorlek M8X1, lämpliga för bearbetning av bottenhål. För lång- och kortspånande material.



