ST



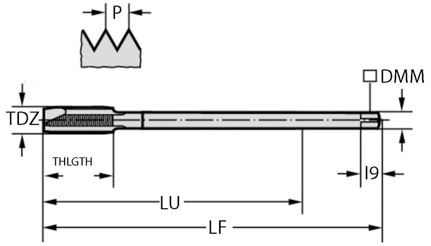
GÄNGTAPP P2036035-M10
Detaljer
Artikelnummer:
P2036035M10
Lev. artikelnummer:
6149271
Antal/förpackning:
1
Antal i lager:
0
Lagerstatus:
Leveranstid 2-4 dagar
Anpassa
Beskrivning
HSS-E-gängtappar (HSS-E (-PM) Maskingängtapp 3xD N , DIN 376), med gängstorlek M10, lämpliga för bearbetning av genomgående hål. För långspånande material.



